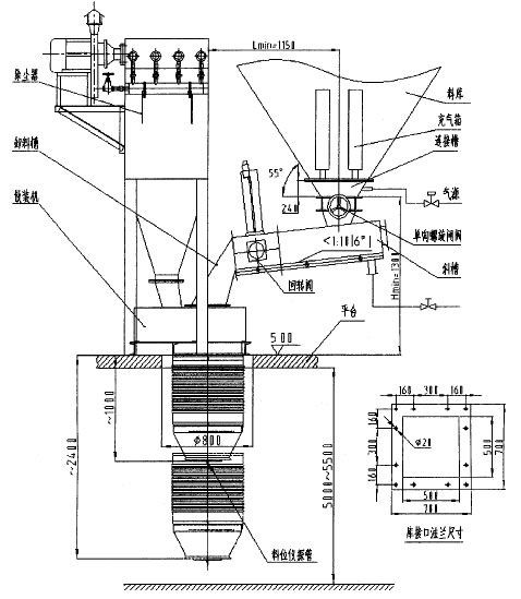
SZJ型散装机

SZJ型散装机是我公司于2001年在原散装机基础上自行开发生产的,对散装机伸缩头进行技术革新,将原伸缩内部套改为钢管伸缩内套。这样增加了伸缩头的耐磨性、耐热性.延长了其使用寿命。减少了个人的劳动强度。提高了生产效率。伸缩头上、下限位自动保护殛装车在一定范围内偏移定位等多项技术处于较高水平。该产品的研制成功为我国微细粉机械化散装。提供了一种高效、适用、节能的成套设备。


SZJ型散装机 2018-5-19 本文被阅读 2073 次
邮编:262600
联系人:张玉华
电话:0536-3214500
3605836
手机:(0)13806494532
传真:0536-3214500
网址:m.0805104.com
邮箱:wfxmdz@163.com
lqjinhua@163.com
地址:山东省潍坊市临朐县城山旺路西首

SZJ型散装机是我公司于2001年在原散装机基础上自行开发生产的,对散装机伸缩头进行技术革新,将原伸缩内部套改为钢管伸缩内套。这样增加了伸缩头的耐磨性、耐热性.延长了其使用寿命。减少了个人的劳动强度。提高了生产效率。伸缩头上、下限位自动保护殛装车在一定范围内偏移定位等多项技术处于较高水平。该产品的研制成功为我国微细粉机械化散装。提供了一种高效、适用、节能的成套设备。


地址:山东省潍坊市临朐县城山旺路西首


Copyright © 2025世界杯直播平台全面盘点
技术支持:山东咕果鲁ICP备19022830号-1